• 首页
  • 查标准
  • 下载
  • 专题
  • 标签
  • 首页
  • 标准
  • 制造
  • HB 7356-1996 卧柄水平安装铰链压紧器

    HB 7356-1996 卧柄水平安装铰链压紧器
    铰链压紧器卧柄安装水平
    33 浏览2025-06-08 更新pdf0.18MB 未评分
    加入收藏
    立即下载
  • 资源简介

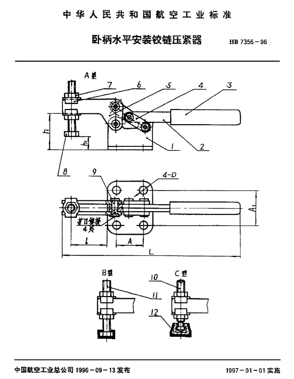
    摘要:本文件规定了卧柄水平安装铰链压紧器的技术要求、试验方法、检验规则及标志、包装、运输和贮存。本文件适用于卧柄水平安装铰链压紧器的设计、制造和验收。
    Title:Horizontal Handle Mounted Hinge Fastener HB 7356-1996
    中国标准分类号:J24
    国际标准分类号:21.060

  • 封面预览

    HB 7356-1996 卧柄水平安装铰链压紧器
  • 拓展解读

    HB 7356-1996 卧柄水平安装铰链压紧器常见问题解答

    HB 7356-1996 是中国国家标准,用于规范卧柄水平安装铰链压紧器的设计、制造和检验要求。以下是关于此标准的一些常见问题及其详细解答。

    1. HB 7356-1996 标准的主要内容是什么?

    HB 7356-1996 主要规定了卧柄水平安装铰链压紧器的技术要求,包括材料选择、结构设计、性能测试、表面处理等。该标准适用于工业设备中需要可靠连接和密封的场景,例如机柜、箱体等。

    2. 卧柄水平安装铰链压紧器的作用是什么?

    卧柄水平安装铰链压紧器是一种用于固定和密封门板或盖板的装置。通过旋转卧柄,可以实现对门板的压紧和松开操作,同时保证良好的密封性能。

    3. 如何判断是否符合 HB 7356-1996 标准?

    • 外观检查:产品表面应无明显缺陷,如裂纹、划痕或锈蚀。
    • 尺寸测量:需符合标准规定的公差范围。
    • 性能测试:包括耐腐蚀性、强度测试和密封性测试。
    • 标志验证:产品上应有清晰的标识,注明生产厂商、型号及执行标准编号。

    4. 卧柄水平安装铰链压紧器的安装方向如何确定?

    根据标准要求,卧柄水平安装时,其操作方向应朝向使用者方便操作的一侧。具体安装方向需结合实际应用场景进行调整。

    5. 卧柄水平安装铰链压紧器的使用寿命有多长?

    使用寿命取决于使用环境和维护情况。在正常工业环境下,如果定期清洁并避免过度腐蚀性介质接触,使用寿命通常可达 5 至 10 年。

    6. HB 7356-1996 是否适用于所有类型的铰链压紧器?

    不适用。该标准仅针对卧柄水平安装的铰链压紧器,其他类型(如直柄、垂直安装)需参考其他相关标准。

    7. 如何选择适合的卧柄水平安装铰链压紧器?

    • 根据门板厚度选择合适的型号。
    • 考虑工作环境(如温度、湿度、腐蚀性)选择耐候性材料。
    • 根据承重要求选择不同强度等级的产品。

    8. 卧柄水平安装铰链压紧器的维护注意事项有哪些?

    • 定期清洁表面,防止灰尘和污垢积累。
    • 避免长时间暴露在强酸碱环境中。
    • 定期检查压紧器的活动部件是否灵活。
    • 如有损坏,及时更换以确保安全性和密封性。

    9. HB 7356-1996 是否已被更新或替代?

    截至最新信息,HB 7356-1996 仍为现行有效的国家标准。若有更新版本发布,相关部门会正式通知。

    10. 如果发现产品不符合 HB 7356-1996 标准怎么办?

    首先确认是生产过程中的问题还是运输、储存过程中造成的损伤。如果是质量问题,建议联系供应商或制造商进行退换货;如果是存储不当导致的问题,则需改进存储条件。

  • 下载说明

    预览图若存在模糊、缺失、乱码、空白等现象,仅为图片呈现问题,不影响文档的下载及阅读体验。

    当文档总页数显著少于常规篇幅时,建议审慎下载。

    资源简介仅为单方陈述,其信息维度可能存在局限,供参考时需结合实际情况综合研判。

    如遇下载中断、文件损坏或链接失效,可提交错误报告,客服将予以及时处理。

  • 相关资源
    下一篇 HB 7353.8-1996 弯管模通用件.球头芯棒

    HB 7354-1996 立柄水平安装铰链压紧器

    HB 7355-1996 立柄垂直安装铰链压紧器

    HB 7357-1996 卧柄垂直安装铰链压紧器

    HB 7358-1996 小型推拉式铰链压紧器

资源简介
封面预览
拓展解读
下载说明
相关资源
  • 帮助中心
  • 网站地图
  • 联系我们
2024-2025 WenDangJia.com 浙ICP备2024137650号-1