• 首页
  • 查标准
  • 下载
  • 专题
  • 标签
  • 首页
  • 标准
  • 制造
  • HB 5501-83 HB 5502-1983 平头抗剪环槽铆钉

    HB 5501-83 HB 5502-1983 平头抗剪环槽铆钉
    平头铆钉抗剪环槽铆钉机械紧固件航空航天连接件
    44 浏览2025-06-08 更新pdf0.1MB 未评分
    加入收藏
    立即下载
  • 资源简介

    摘要:本文件规定了平头抗剪环槽铆钉的尺寸、材料、力学性能和技术要求。本文件适用于航空航天及其他领域中需要高强度连接的结构件。
    Title:Flat Head Shear Groove Rivets
    中国标准分类号:J24
    国际标准分类号:21.060

  • 封面预览

    HB 5501-83 HB 5502-1983 平头抗剪环槽铆钉
  • 拓展解读

    摘要

    本文旨在探讨HB 5501-83和HB 5502-1983标准下平头抗剪环槽铆钉的技术特点、应用场景及其在现代工业中的重要性。通过对这两种标准的深入分析,结合实际应用案例,本文试图揭示其在工程设计与制造领域的独特价值。

    引言

    HB 5501-83和HB 5502-1983是中国航空行业标准中关于平头抗剪环槽铆钉的重要规范。这些铆钉因其优异的性能,在航空航天、交通运输以及建筑行业中被广泛应用。本文将从标准定义、技术参数及实际应用三个方面展开论述。

    标准定义

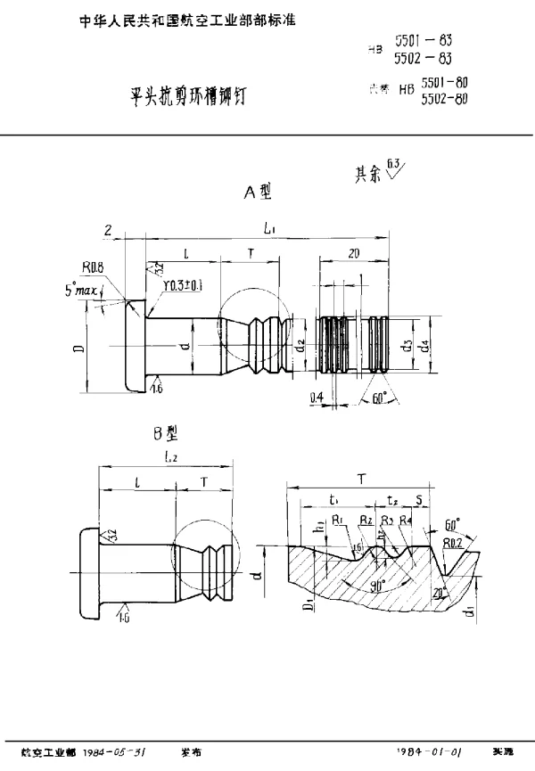
    HB 5501-83和HB 5502-1983分别规定了不同规格的平头抗剪环槽铆钉的技术要求。这些标准不仅限定了材料成分、尺寸公差,还对铆钉的机械强度和抗剪能力提出了明确要求。通过严格的质量控制流程,确保每颗铆钉都能满足特定工况下的使用需求。

    技术参数

    • 材料选择: 这些铆钉通常采用高强度铝合金或钛合金制成,以保证其在极端环境下的耐用性。
    • 尺寸范围: 根据不同的应用场景,铆钉直径可以从几毫米到几十毫米不等。
    • 抗剪能力: 铆钉的设计使其能够承受高达数千牛顿的剪切力,适用于高负荷结构连接。

    实际应用

    平头抗剪环槽铆钉广泛应用于飞机机身、桥梁结构以及高速列车车体的装配中。例如,在航空航天领域,这类铆钉被用来固定机翼与机身之间的关键部件;而在建筑工程中,则用于加强高层建筑的钢结构连接点。

    结论

    综上所述,HB 5501-83和HB 5502-1983所规定的平头抗剪环槽铆钉不仅是现代工业不可或缺的一部分,也是保障各类设施安全运行的关键因素之一。未来随着新材料和技术的发展,此类铆钉有望进一步提升性能并拓展更多新型应用场景。

  • 下载说明

    预览图若存在模糊、缺失、乱码、空白等现象,仅为图片呈现问题,不影响文档的下载及阅读体验。

    当文档总页数显著少于常规篇幅时,建议审慎下载。

    资源简介仅为单方陈述,其信息维度可能存在局限,供参考时需结合实际情况综合研判。

    如遇下载中断、文件损坏或链接失效,可提交错误报告,客服将予以及时处理。

  • 相关资源
    下一篇 HB 5496-1992 GH536合金圆饼、环坯和环形件

    HB 5506-1983 平圆头抗拉环槽铆钉

    HB 552-1989 带侧面压紧件双孔凸缘叉子

    HB 5536-1983 球面接嘴

    HB 5537-1983 全球面接嘴

资源简介
封面预览
拓展解读
下载说明
相关资源
  • 帮助中心
  • 网站地图
  • 联系我们
2024-2025 WenDangJia.com 浙ICP备2024137650号-1