• 首页
  • 查标准
  • 下载
  • 专题
  • 标签
  • 首页
  • 标准
  • 制造
  • HB 1670-1987 齿形可调压紧器

    HB 1670-1987 齿形可调压紧器
    齿形可调压紧器机械制造
    35 浏览2025-06-08 更新pdf0.03MB 未评分
    加入收藏
    立即下载
  • 资源简介

    摘要:本文件规定了齿形可调压紧器的结构型式、基本参数、技术要求、检验规则及标志、包装、运输和贮存。本文件适用于HB 1670-1987标准范围内所定义的齿形可调压紧器。
    Title:Shape Adjustable Clamp
    中国标准分类号:J12
    国际标准分类号:21.060

  • 封面预览

    HB 1670-1987 齿形可调压紧器
  • 拓展解读

    HB 1670-1987 齿形可调压紧器的研究与应用

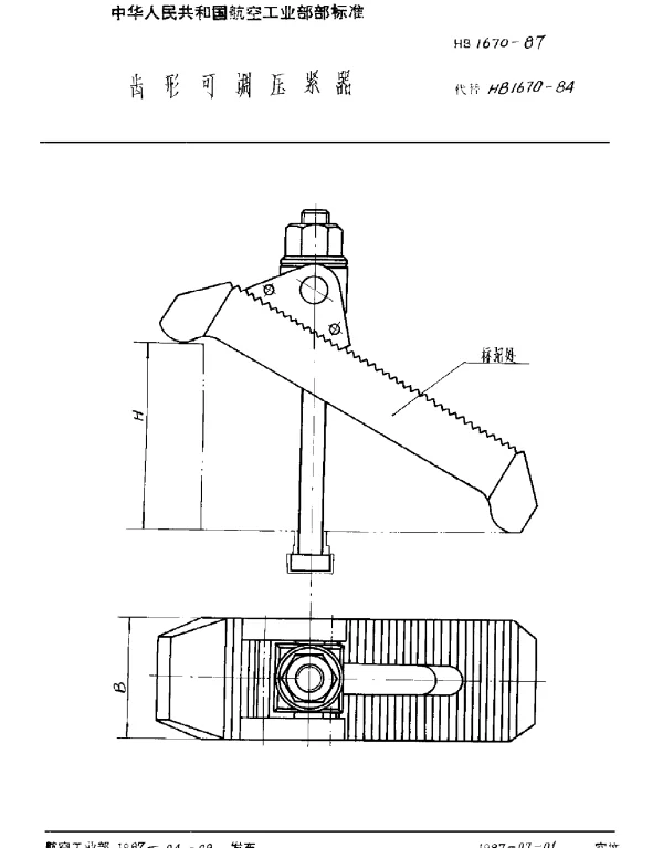
    齿形可调压紧器作为一种重要的机械装置,在工业生产中扮演着不可或缺的角色。标准HB 1670-1987对这种设备的设计、制造和使用进行了详细规范,为提高产品质量和工作效率提供了技术支持。

    本文将从齿形可调压紧器的工作原理、技术特点以及实际应用三个方面进行深入探讨,旨在揭示其在现代工业中的重要价值。

    工作原理

    齿形可调压紧器的核心在于其独特的齿形设计,通过调整齿的间距和角度,可以实现不同强度的压紧力。这一特性使其能够适应多种复杂的工况需求。

    • 通过旋转调节机构改变齿的位置,从而改变压紧力的大小。
    • 齿形的设计直接影响压紧效果,合理的齿形能够显著提升设备的稳定性和耐用性。

    技术特点

    根据HB 1670-1987标准,齿形可调压紧器具有以下几个显著的技术特点:

    • 高精度加工:确保每个齿的尺寸和形状符合标准要求,以保证压紧力的均匀分布。
    • 材料选择:采用高强度合金钢,提高了设备的抗疲劳性能和使用寿命。
    • 模块化设计:便于维护和更换,降低了设备的使用成本。

    实际应用

    齿形可调压紧器广泛应用于汽车制造、航空航天和精密仪器等领域。以下是其在实际应用中的具体表现:

    • 在汽车制造中,用于固定车身部件,确保焊接和装配的精确度。
    • 在航空航天领域,用于固定敏感部件,避免因振动导致的损坏。
    • 在精密仪器制造中,提供稳定的压紧力,保障设备的高精度运行。

    综上所述,齿形可调压紧器凭借其独特的设计和卓越的性能,已经成为现代工业不可或缺的一部分。遵循HB 1670-1987标准,不仅可以确保设备的质量,还能进一步推动相关行业的技术进步。

  • 下载说明

    预览图若存在模糊、缺失、乱码、空白等现象,仅为图片呈现问题,不影响文档的下载及阅读体验。

    当文档总页数显著少于常规篇幅时,建议审慎下载。

    资源简介仅为单方陈述,其信息维度可能存在局限,供参考时需结合实际情况综合研判。

    如遇下载中断、文件损坏或链接失效,可提交错误报告,客服将予以及时处理。

  • 相关资源
    下一篇 HB 1667-1987 偏心侧向顶紧器

    HB 1669-1987 鹰式可调压板

    HB 1673-1987 立式可调压紧器

    HB 1671-1987 回转接头

    HB 1674-1987 定位夹紧器

资源简介
封面预览
拓展解读
下载说明
相关资源
  • 帮助中心
  • 网站地图
  • 联系我们
2024-2025 WenDangJia.com 浙ICP备2024137650号-1