• 首页
  • 查标准
  • 下载
  • 专题
  • 标签
  • 首页
  • 标准
  • 建筑
  • HB 1465-1987 三槽条形基础板

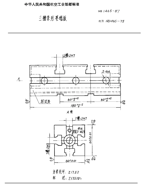
    HB 1465-1987 三槽条形基础板
    三槽条形基础板建筑材料设计规范施工要求质量检测
    34 浏览2025-06-08 更新pdf0.05MB 未评分
    加入收藏
    立即下载
  • 资源简介

    摘要:本文件规定了三槽条形基础板的设计、制造、施工及验收的技术要求。本文件适用于工业与民用建筑中采用三槽条形基础板的工程项目。
    Title:Three-groove Strip Footing Plate - HB 1465-1987
    中国标准分类号:P53
    国际标准分类号:91.080

  • 封面预览

    HB 1465-1987 三槽条形基础板
  • 拓展解读

    弹性方案优化HB 1465-1987三槽条形基础板

    在遵循HB 1465-1987标准的前提下,通过优化流程和降低成本,可以在多个关键环节实现灵活性。以下是基于标准核心原则提出的10项弹性方案。

    材料选择的弹性方案

    • 替代材料测试:在确保强度和耐久性的前提下,尝试使用成本更低但性能相近的替代材料。
    • 模块化采购:集中采购大宗材料以降低单位成本,并与供应商协商长期合作折扣。

    施工工艺的弹性方案

    • 机械化替代:引入自动化设备减少人工操作,提高效率并降低人工成本。
    • 分段施工优化:将基础板分为多个施工段,合理安排施工顺序,避免资源浪费。

    设计阶段的弹性方案

    • 参数化设计:利用计算机辅助设计(CAD)工具调整尺寸参数,在满足标准要求的同时优化结构设计。
    • 多方案比选:对比不同设计方案的成本效益,选择最优解。

    质量管理的弹性方案

    • 动态检测:采用在线监测技术实时评估施工质量,减少返工成本。
    • 分级验收:对不同工序设置不同的验收标准,优先保证关键环节的质量。

    供应链管理的弹性方案

    • 本地化供应:优先选择本地供应商,缩短运输距离,降低物流成本。
    • 库存优化:建立合理的库存管理系统,避免因过度囤积导致的资金占用。
  • 下载说明

    预览图若存在模糊、缺失、乱码、空白等现象,仅为图片呈现问题,不影响文档的下载及阅读体验。

    当文档总页数显著少于常规篇幅时,建议审慎下载。

    资源简介仅为单方陈述,其信息维度可能存在局限,供参考时需结合实际情况综合研判。

    如遇下载中断、文件损坏或链接失效,可提交错误报告,客服将予以及时处理。

  • 相关资源
    下一篇 HB 1466-1987 简式正方形垫板

    HB 1468-1987 转角支承

    HB 1475-1987 滑动支承

    HB 1529-1987 左角铁

    HB 1553-1987 台阶板

资源简介
封面预览
拓展解读
下载说明
相关资源
  • 帮助中心
  • 网站地图
  • 联系我们
2024-2025 WenDangJia.com 浙ICP备2024137650号-1